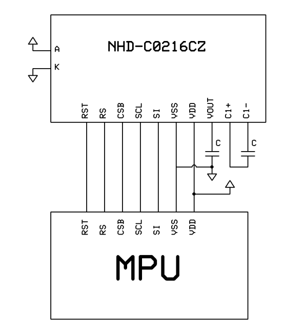
Les agregue unos screenshots de información que revise, que les puede servir, y un esquema de como se debe ver el diagrama que posteé 😄
Considerando la imagen de la hoja de datos:

yo creo que la conexión entre el MSP430 y la ISP debe de ser la siguiente:
```
-----------------
------------ | LCD
MSP430 | | NHD-C0216CZ
Master Px.0| ---> | RS
Px.1| ---> | RST
Px.2| ---> | /CSB
MOSI0| ---> | SI
SCLK| ---> | SCL
| |
| |
------------ -------------
```
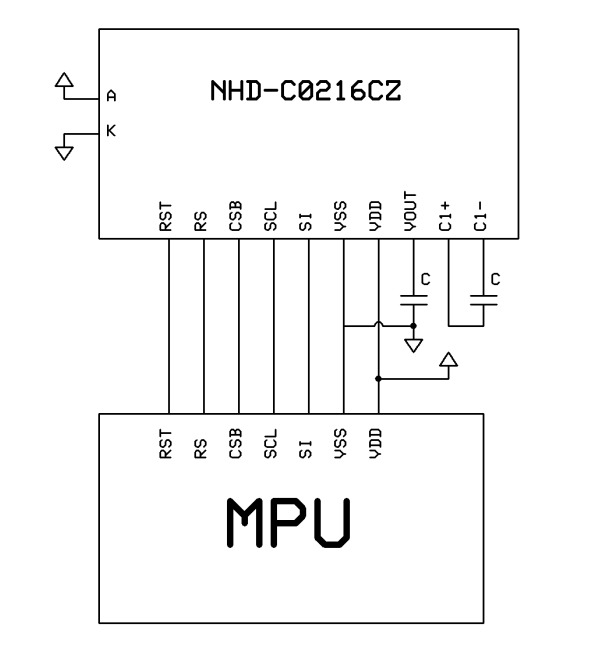
Les agregue unos screenshots de información que revise, que les puede servir, y un esquema de como se debe ver el diagrama que posteé 😄
Considerando la imagen de la hoja de datos:

yo creo que la conexión entre el MSP430 y la ISP debe de ser la siguiente:
Les agregue unos screenshots de información que revise, que les puede servir, y un esquema de como se debe ver el diagrama que posteé 😄